- 雷达液位计料位计系列产品
- 压力/液位/差压/密度变送器
- 液位仪表系列
- 流量仪表系列
- 物位仪表系列
- 液位/温度/压力/流量-报警仪
- PLC/DCS自动化控制监控系统
- GPRS无线远传装置
- 有纸/无纸记录仪系列
- 温度仪表系列
- 分析仪|检测仪|校验仪系列
电话:86 0517-86917118
传真:86 0517-86899586
销售经理:1560-1403-222 (丁经理)
??? ? ? ? 139-1518-1149 (袁经理)
业务QQ:2942808253 / 762657048
网址:http://www.d-angle.cn
外夹式超声波流量计完整安装步骤及标准调试规范
在流量测量领域,各种类型的新型流量测量仪表不断地推陈出新,除了传统型的孔板流量计、涡轮流量计等,超声波流量计作为流量测量仪表的新宠异军突起,以其安装方便快捷,测量数据精确,后期维护简便易行的特点受到许多用户的青睐,尤其是其中的外夹式超声波流量计种类,更是安装灵活,设置简单方便。润中仪表科技有限公司作为一家**生产流量计的厂家,近年来向市场推出的一款RZ-1158C外夹式超声波流量计市场反响火爆,销量日益攀升,在大管道的污水测量,各类污水处理单位,石化企业、制药和供水行业得到了**的应用。本文就超声波流量计安装及使用的整个步骤和要点作出介绍,当然也适于RZ-1158C型外夹式超声波流量计。相信读者在阅读此文后对超声波流量计的整个安装和使用会有一个清晰的了解,也会对日常的仪表测量过程的控制有更好的指导作用。
超声波流量计的安装规程细解
超声波流量计在安装之前应了解现场情况,包括:
1.安装传感器处距主机距离为多少;
2.管道材质、管壁厚度及管径;
3.管道年限;
4.流体类型、是否含有杂质、气泡以及是否满管;
5.流体温度;
6.安装现场是否有干扰源(如变频、强磁场等);
7.主机安放处四季温度;
8.使用的电源电压是否稳定;
9.是否需要远传信号及种类;
根据以上提供的现场情况,厂家可针对现场情况进行配置,必要情况下也可特制机型。
选择安装位置
选择安装管段对测试精度影响很大,所选管段应避开干扰和涡流这两种对测量精度影响较大的情况,一般选择管段应满足下列条件:
1、避免在水泵、大功率电台、变频,即有强磁场和震动干扰处安装机器;
2、选择管材应均匀致密,易于超声波传输的管段;
3、要有足够长的直管段,安装点上游直管段必须要大于10D(注:D=直径),下游要大于5D;
4、安装点上游距水泵应有30D距离;
5、流体应充满管道;
6、管道周围要有足够的空间便于现场人员操作,地下管道需做测试井,测试井如下:
确定探头安装方式
超声波流量计一般有两种探头安装方式,即Z法和V法。
但是,当D < 200mm而现场情况为下列条件之一者,也可采用Z法安装:
1、当被测量流体浊度高,用V法测量收不到信号或信号很弱时;
2、当管道内壁有衬里时;
3、当管道使用年限太长且内壁结垢严重时;
对于管道条件较好者,即使D稍大于200mm,为了提高测量精度,也可采用V法安装。
求得安装距离,确定探头位置
1、将管道参数输入仪表,选择探头安装方式,得出安装距离;
2、在水平管道上,一般应选择管道的中部,避开顶部和底部(顶部可能含有气泡、底部可能有沉淀);
3、V法安装:先确定一个点,按安装距离在水平位置量出另一个点。
Z法安装:先确定一个点,按安装距离在水平位置量出另一个点,然后测出此点在管道另一侧的对称点。
管道表面处理
确定探头位置之后,在两安装点±100mm范围内,使用角磨砂轮机、锉、砂纸等工具将管道打磨至光亮平滑无蚀坑。
要求:光泽均匀,无起伏不平,手感光滑圆润。需要特别注意,打磨点要求与原管道有同样的弧度,切忌将安装点打磨成平面,用酒精或汽油等将此范围擦净,以利于探头粘接。
探头与仪表接线
微调探头位置
接完线后把探头内部用硅胶注满,放置半小时,然后用硅胶和卡具把探头固定到打磨好的管道上(注意探头方向,引线端向外),然后观察仪表的信号强度、良度与传输时间比,如发现不好,则细微调整探头位置,直到仪表的信号达到规定的范围之内:
(信号强度:一般应大于6.5,少数可根据现场具体情况另定。)
(信号良度:低峰值一般为7~14,高峰值一般为25~80。)
(传输时间比:在100±4范围之内,此值必须稳定。)
固定探头
仪表信号调整好以后,用所配卡具将探头固定好,注意不要使钢丝绳倾斜,以免拉动探头,使探头移位,再用硅胶将探头与管道接触的四周封住。此胶凝固大约需一天时间,在未干之前必须注意探头防水。(信号线的外屏蔽线必须可靠接地)。
超声波流量计主要技术指标:
|
|
插入式超声波流量计 |
管段式超声波流量计 |
外加式超声波流量计 |
|
|||
|
管径范围(mm) |
DN80-4000 |
DN20-2000 |
DN20-4000 |
|
|||
|
流速范围(m/s) |
0.01~12 |
|
|
|
|||
|
准确度(%) |
单声道 |
双声道 |
三声道 |
单声道 |
双声道 |
三声道 |
1.5 |
|
1.0 |
1.0 |
0.5 |
1.0(校正0.5) |
0.5 |
0.5 |
|
|
|
测量介质 |
饮用水、河水、海水、地下水、冷却水、高温水、污水、润滑油、柴油、燃油、化工液体、其他均质流体 |
|
|
|
|
|
|
|
管道材质 |
金属(如碳钢、铸铁、不锈钢、铝等)非金属材质(如PVC,有机玻璃等) |
|
|
|
|
|
|
|
管衬材质 |
玻璃钢、沙浆、橡胶等 |
|
|
|
|
|
|
|
信号输出 |
1、4-20mA:阻抗小于800Ω,光电隔离,准确度0.1%。 |
|
|
|
|
|
|
|
键 盘 |
2×8汉字键盘 |
|
|
|
|
|
|
|
显示器 |
2×10汉字显示或英文显示 |
|
|
|
|
|
|
|
测量功能 |
显示瞬时流量、瞬时流速、正累计流量、负累计流量、净累计流量、累计运行时间、瞬时供热量、累计共热量、断电时间等。 |
|
|
|
|
|
|
|
数据存贮 |
可存贮前720小时,前365天,前36个月和前十年的测量数据,包括瞬时流量、累计流量、断电时间等。 |
|
|
|
|
|
|
|
环境温度 |
转换器:-10~45℃(特殊环境请说明) |
|
|
|
|
|
|
|
传感器材质 |
不锈钢和陶瓷 |
不锈钢和普通碳钢 |
常温型为尼龙高温型为合金铝 |
|
|
|
|
|
传感器承压能力 |
管内部分压力小于4.5MPa |
DN20~700mm小于2.5MPa |
与管道内压力无关建议不浸水工作 |
|
|
|
|
|
传感器防护等级 |
IP68 |
|
|
|
|
|
|
|
转换器防护等级 |
壁挂式转换器:IP65 盘装式转换器:IP52 一体式转换器:IP67 |
|
|
|
|
|
|
|
防爆等级 |
EXdⅡBT6 |
|
|
|
|
|
|
|
传感器电缆长度 |
< 500m |
< 500m |
< 300m |
|
|
|
|
|
传感器电缆型号 |
专用电缆SEYV-75-2(直径7mm),越短越好,减少干扰,也可以加长到300m若长要加粗电缆 |
|
|
|
|
|
|
|
工作电源 |
AC220V, DC12~36V 0.8A (可选) |
|
|
|
|
|
|
|
转换器外形尺寸 |
壁挂式:213×185×107mm 盘装式:160×80×250mm 一体式:185×140×100mm |
|
|
|
|
|
|
|
传感器外形尺寸 |
220×ø20(杆部)×ø50(连接部)mm |
见管段传感器数据表 |
60×40×35mm |
|
|
|
|
|
转换器重量 |
壁挂式:1.2Kg 盘装式:0.8Kg 一体式:1.4Kg |
|
|
|
|
|
|
|
传感器重量 |
0.7Kg/支 |
见管段传感器数据表 |
0.2Kg/支 |
|
|
|
|
|
热量测量功能 |
测量供热量、热损耗、入口温度、出口温度 |
|
|
|
|
|
|
安装超声波流量计可按照以下步骤操作:
一:观察安装现场管道是否满足直管段前10D后5D以及离泵30D的距离。(D为管道内直径)
二:确认管道内流体介质以及是否满管。
三:确认管道材质以及壁厚(充分考虑到管道内壁结垢厚度)
四:确认管道使用年限,在使用10左右的管道,即使是碳钢材质,好也采用插入式安装。
五:前四步骤完成后可确认使用何种传感器安装
六:开始向表体输入参数以确定安装距离。
七:非常重要:精确测量出安装距离。
(1) 外夹式可选安装传感器大概距离,然后不断调试活动传感器以达到信号和传输比好的匹配
(2) 插入使用专用工具测量管道上安装点距离,这个距离很重要,它直接影响表的实际测量精度,所以好进行多次测量以求较高精度。
八:安装传感器——调试信号——做防水——归整好信号电缆——清理现场线头等废弃物 ——安装结束——验收签字
图纸分解

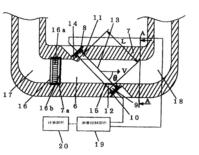
超声波流量计原理图
包括:测量流动通道6,被测量的流体通过其中流动;超声波换能器8和9,分别设置在沿测量流动通道6彼此相对的上游端和下游端;上游孔眼11和下游孔眼12,用于使超声波换能器8和9暴露于该测量流动通道6;*先流体抑制器15,至少邻近下游孔眼12,用于减少被测量的流体流入孔眼12;二流体抑制器16,被设置在测量流动通道6的上游端并相对于孔眼11和12,用于减少被测量的流体流入孔眼11和12;测量控制部件19,用于测量超声波换能器8和9之间的超声波的传播时间;及计算部件20,用于根据该测量控制部件19的信号计算流量。为下游孔眼12设置的*先流体抑制器15包括具有至少一个超声波传输孔22的孔眼密封部件21。因此,有可能稳定超声波换能器之间的流体,以便增强超声波的接收水平,从而提高测量精度和对流量测量的上限值,并减少对于超声波换能器的驱动输入。

超声波流量计安装调试可按照以下步骤操作:
一:观察安装现场管道是否满足直管段前10D后5D以及离泵30D的距离。(D为管道内直径)
二:确认管道内流体介质以及是否满管。
三:确认管道材质以及壁厚(充分考虑到管道内壁结垢厚度)
四:确认管道使用年限,在使用10左右的管道,即使是碳钢材质,好也采用插入式安装。
五:前四步骤完成后可确认使用何种传感器安装
六:开始向表体输入参数以确定安装距离。
七:非常重要:精确测量出安装距离。
(1) 外夹式超声波流量计可选安装传感器大概距离,然后不断调试活动传感器以达到信号和传输比好的匹配
(2) 插入使用专用工具测量管道上安装点距离,这个距离很重要,它直接影响表的实际测量精度,所以好进行多次测量以求较高精度。
八:安装传感器——调试信号——做防水——归整好信号电缆——清理现场线头等废弃物——安装结束——验收签字
本文由润中仪表科技有限公司整理发布。
上一条:保证外夹式超声波流量计准确测量的操作要领
下一条:工业可燃气体检测仪器仪表管理规范规定
- 相关文章
-
- 雷达液位计的作用 【2025-11-18】
- 雷达液位计使用注意事项 【2025-11-18】
- 雷达液位计安装注意事项全解析 【2025-11-14】
- 雷达液位计工作原理及相关说明 【2025-11-14】
- 涡街流量计在蒸汽流量测量中的选型要领及测量中需注意的问题 【2017-05-18】
- 浮子流量计在测量多粘度流体时粘度与浮子高度变化关系 【2015-10-22】
- 雷达液位计在测量过程中常见的故障有哪些 【2025-04-25】
- 超声波液位计在进行高精度测量时为什么需要进行温压补偿 【2022-05-12】
- 电磁流量计不能承受负压的原因及解决的办法 【2016-07-20】
- 智能电磁流量计是测量水泥浆和煤浆流量好的选择 【2015-01-13】








